Здравствуйте, нужна структурная схема портативного телевизора Elenberg tv-500, но так как они сильно не отличаются друг от друга, то для начала пойдет структурка от любого портативного телевизора. Заранее благодарен
26/05/2013 - 11:07
Здравствуйте, нужна структурная схема портативного телевизора Elenberg tv-500, но так как они сильно не отличаются друг от друга, то для начала пойдет структурка от любого портативного телевизора. Заранее благодарен
- Вход или регистрация для ответа
 Странное желание, надо обязательно структурную, т.е. принципиальная не покатит
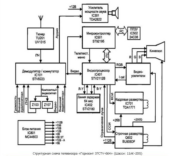
Видимо эта подойдет...
Прикрепленные файлы:
- Вход или регистрация для ответа
 Извиняюсь, не правильно выразился в вопросе, мне нужна структурка любого портативного ЖК телевизора, но все равно спасибо!
- Вход или регистрация для ответа
 ссылка
- Вход или регистрация для ответа
 KREMLIN, давали уже, не понравилось. Чем то.
http://www.tvservice.org/node/5791
Будем ремонтировать или пусть работает?
"Человеку нельзя помочь помимо его воли." Г. Померанц
- Вход или регистрация для ответа
 Да действительно не угодишь.В книжке действительно есть даже принципиальная схема этого телевизора но структурной нет,при этом описание телевизора происходит по структуре с описанием работы тех или иных узлов принципиальной схемы,остаётся внимательно прочитать,нарисовать прямоугольники,обозначить их соединить стрелочками.